服務熱線
180-5003-0233

本實用新型涉及探花网站在线观看技術領域,特別涉及鋰電池隔膜探花网站在线观看的收卷機構。
背景技術:
隨著新能源行業快速發展,鋰電池隔膜和汽車動力電池隔膜生產需求大。鋰電池需要的隔膜依電池規格分切相應的寬度,分切的隔膜有幹法膜、濕發膜、陶瓷膜,分切要求速度快,側麵整齊,收卷張力小,隔膜探花网站在线观看是生產鋰電池不可缺少的設備。
鋰電池隔膜探花网站在线观看的收卷機構是將分切後的鋰電池隔膜進行收卷的機構。收卷機構包括收卷臂、固定於收卷臂上的收卷軸,收卷軸將分切後一定寬度的鋰電池隔膜進行周向收卷。
但現有技術中收卷臂是固定的,收卷軸與待收的鋰電池隔膜之間存在一定的距離,使得收卷軸上的鋰電池隔膜不夠緊實,比較雜亂,因此有改進的空間。
技術實現要素:
本實用新型的目的是提供鋰電池隔膜探花网站在线观看的收卷機構,使得收卷臂與將要收卷的鋰電池隔膜抵觸,進而使得收卷軸上的鋰電池隔膜纏繞整齊。
鋰電池隔膜探花网站在线观看的收卷機構,包括收卷機架、設置於收卷機架上的收卷臂、設置於收卷臂上的收卷軸,所述收卷機架上設置有用於安裝收卷臂的收卷主輥,所述收卷臂遠離收卷軸的一端一體設置有穿設於收卷主輥上且可周向旋轉的固定環,所述收卷主輥上套設有與固定環抵觸且用於限製收卷臂旋轉範圍的限位機構。
采用上述方案,可旋轉固定環的設置,使得與固定環一體設置的收卷臂能夠調節,進而可以改變收卷臂上收卷軸與將要收卷的鋰電池隔膜之間的距離,實現收卷軸與待收的鋰電池隔膜抵觸,使得收卷軸上的鋰電池隔膜纏繞緊實、整齊;限位機構對收卷臂的旋轉範圍進行合理限製,使得收卷臂能夠快速調節到所需的位置,提高收卷機構的使用效果。
作為優選,所述收卷臂遠離收卷軸的一側設置有第一限位柱,所述限位機構上凸出設置有與第一限位柱互相配合以實現限製收卷臂旋轉範圍的凸塊。
采用上述方案,第一限位柱、凸塊的互相配合,實現對收卷臂最大調節範圍的限製,結構簡單,易於實現。
作為優選,所述限位機構包括套設於收卷主輥上且與固定環抵觸的棘輪、套設於收卷主輥上且可周向旋轉並與棘輪遠離固定環一側抵觸的連接盤、滑移設置於連接盤上且與棘輪互相配合的棘爪、螺紋固定於連接盤上用於限製收卷臂旋轉範圍的第二限位柱。
采用上述方案,通過手掰棘爪,使得棘爪與棘輪發生相對移動,進而使得連接盤發生一定角度的旋轉,使得第二限位柱發生相對位置的改變,進而調節收卷臂的旋轉範圍,調節靈活。
作為優選,所述收卷臂遠離棘輪的一側設置有第三限位柱,所述第三限位柱上套設有連接於第二限位柱並用於限製收卷臂旋轉範圍的連接帶。
采用上述方案,連接帶、第二限位柱、第三限位柱配合連接,旋轉臂的一端通過連接帶連接於第二限位柱,進而連接帶的設置進一步對旋轉臂的旋轉範圍進行限製,使得鋰電池隔膜探花网站在线观看在收卷時,根據收卷軸上收卷的數量能夠發生小範圍的調節,使用靈活。
作為優選,所述連接盤上固定有連接柱,所述連接盤靠近棘輪的一端設置有拉簧,所述拉簧的一端固定於棘爪上,所述拉簧的另一端套設於連接柱上。
采用上述方案,通過施加作用力,使得拉簧形變,拉簧帶動棘爪升起一定的高度,進而實現棘爪沿著棘輪發生相對位置的改變,進而達到調節第二限位柱的位置,操作方便。
作為優選,所述連接盤遠離棘輪的一側設置有穿設於收卷主輥上且用於限製連接盤水平方向滑移的第一限位盤,所述第一限位盤上螺紋穿設有壓緊於收卷主輥以實現對連接盤進行位置調節的第一調節柱。
采用上述方案,第一限位盤、第一調節柱的設置,使得套設於收卷主輥的收卷臂的水平位置能夠根據實際情況,進行一定水平位置的調節,提高收卷機構的使用效果。
作為優選,所述收卷臂遠離棘輪的一側設置有穿設於收卷主輥上且用於限製收卷臂水平方向滑移的第二限位盤,所述第二限位盤上螺紋穿設有壓緊於收卷主輥以實現對收卷臂進行位置調節的第二調節柱。
采用上述方案,第二限位盤和第二調節柱與第一限位盤和第一調節柱的互相配合,使得收卷臂的水平位置更加靈活的調節,進而提高收卷機構的使用效果。
作為優選,所述固定環的兩側分別設置有套設於收卷主輥上且與固定環抵觸的墊片。
采用上述方案,墊片的設置,使得固定環的兩側麵不直接與第一限位盤和第二限位盤抵觸,進而減少第一限位盤、第二限位盤的磨損,提高使用壽命。
作為優選,所述墊片與固定環抵觸一側凸出設置有若幹與固定環抵觸的凸出半球。
采用上述方案,凸出半球的設置,減少固定環的兩側麵與兩側墊片的接觸麵積,進而減少固定環的磨損,同時方便對收卷臂進行調節,實用性強。
作為優選,所述第一限位盤與連接盤之間設置有套設於收卷主輥上的卡環。
采用上述方案,卡環的設置,使得第一限位盤與連接盤不直接接觸,減少由於連接盤的轉動對限位盤的磨損,提高限位盤的使用壽命。
綜上所述,本實用新型具有以下有益效果:棘輪、棘爪的配合,使得旋轉臂的調節更加靈活,使得收卷臂能夠調節收卷軸與將要收卷的鋰電池隔膜之間的距離,以使得收卷軸上的鋰電池隔膜纏繞緊實、整齊。
附圖說明
圖1為鋰電池隔膜探花网站在线观看的收卷機構的結構示意圖一;
圖2為鋰電池隔膜探花网站在线观看的收卷機構的結構示意圖二;
圖3為圖2中A部的放大示意圖;
圖4為收卷機構的爆炸示意圖一;
圖5為收卷機構的爆炸示意圖二。
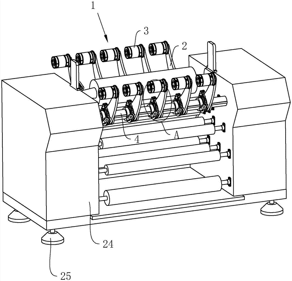
圖中:1、收卷機構;2、收卷臂;3、收卷軸;4、收卷主輥;5、固定環;6、限位機構;7、第一限位柱;8、凸塊;9、棘輪;10、連接盤;11、棘爪;12、第二限位柱;13、第三限位柱;14、連接帶;15、拉簧;16、連接柱;17、第一限位盤;18、第一調節柱;19、第二限位盤;20、第二調節柱;21、墊片;22、凸出半球;23、卡環;24、固定台;25、支腳。
具體實施方式
以下結合附圖對本實用新型作進一步詳細說明。
如圖1、2所示,本實施例公開的鋰電池隔膜探花网站在线观看的收卷機構,包括用於安裝收卷機構1的固定台24、用於支撐固定台24的支腳25、固定於固定台24上的收卷主輥4、套設於收卷主輥4上的收卷臂2、固定於收卷臂2遠離收卷主輥4一端的收卷軸3。
如圖3、4所示,收卷臂2遠離收卷軸3的一端一體設置有穿設於收卷主輥4上的固定環5,且固定環5的一側設置有限製收卷臂2旋轉範圍的限位機構6,且限位機構6穿設於收卷主輥4上。限位機構6包括與固定環5抵觸連接的棘輪9、與棘輪9抵觸連接的連接盤10、與棘輪9互相配合的棘爪11、螺紋固定於連接盤10上用於限製收卷臂2旋轉範圍的第二限位柱12。棘輪9與連接盤10通過螺栓連接,且穿設於收卷主輥4上的連接盤10能夠發生一定角度的旋轉。
如圖4、5所示,收卷臂2遠離棘輪9的一側麵固定有第三連接柱16,且第三連接柱16垂直於收卷臂2的一側麵。第三連接柱16上套設有連接帶14,且連接帶14的另一端套設於第二連接柱16上。連接盤10靠近棘爪11的一側固定有連接柱16,拉簧15的一端套設於連接柱16上,拉簧15的另一端連接於棘爪11上。
如圖4、5所示,收卷臂2遠離收卷軸3的一側固定有第一限位柱7,且第一限位柱7垂直於收卷臂2的一側麵,連接盤10靠近收卷臂2的一側凸出設置有與第一限位柱7互相配合的凸塊8,且凸塊8垂直於連接盤10的一側麵。
如圖3、4所示,收卷臂2靠近棘輪9的一側設置有第一限位盤17,且第一限位盤17穿設於收卷主輥4上,第一限位盤17上卡接有用於調節第一限位盤17水平位置的第一調節柱18。第一限位盤17與連接盤10之間設置有套設於收卷主輥4上的卡環23。收卷臂2遠離棘輪9的一側設置有第二限位盤19,且第二限位盤19穿設於收卷主輥4上,第二限位盤19上卡接有用於調節第二限位盤19水平位置的第二調節柱20。第一限位盤17和第一調節柱18與第二限位盤19和第二調節柱20互相配合對收卷臂2的水平位置進行調節。
如圖3-5所示,收卷臂2的兩側分別安裝有套設於收卷主輥4上的墊片21,且墊片21與收卷臂2遠離收卷軸3的一端抵觸。墊片21與收卷臂2抵觸的一側凸出設置有若幹凸出半球22。
本具體實施例僅僅是對本實用新型的解釋,其並不是對本實用新型的限製,本領域技術人員在閱讀完本說明書後可以根據需要對本實施例做出沒有創造性貢獻的修改,但隻要在本實用新型的權利要求範圍內都受到專利法的保護。

技術特征:
1.鋰電池隔膜探花网站在线观看的收卷機構,包括收卷機架、設置於收卷機架上的收卷臂(2)、設置於收卷臂(2)上的收卷軸(3),其特征是:所述收卷機架上設置有用於安裝收卷臂(2)的收卷主輥(4),所述收卷臂(2)遠離收卷軸(3)的一端一體設置有穿設於收卷主輥(4)上且可周向旋轉的固定環(5),所述收卷主輥(4)上套設有與固定環(5)抵觸且用於限製收卷臂(2)旋轉範圍的限位機構(6)。
2.根據權利要求1所述的鋰電池隔膜探花网站在线观看的收卷機構,其特征是:所述收卷臂(2)遠離收卷軸(3)的一側設置有第一限位柱(7),所述限位機構(6)上凸出設置有與第一限位柱(7)互相配合以實現限製收卷臂(2)旋轉範圍的凸塊(8)。
3.根據權利要求2所述的鋰電池隔膜探花网站在线观看的收卷機構,其特征是:所述限位機構(6)包括套設於收卷主輥(4)上且與固定環(5)抵觸的棘輪(9)、套設於收卷主輥(4)上且可周向旋轉並與棘輪(9)遠離固定環(5)一側抵觸的連接盤(10)、滑移設置於連接盤(10)上且與棘輪(9)互相配合的棘爪(11)、螺紋固定於連接盤(10)上用於限製收卷臂(2)旋轉範圍的第二限位柱(12)。
4.根據權利要求3所述的鋰電池隔膜探花网站在线观看的收卷機構,其特征是:所述收卷臂(2)遠離棘輪(9)的一側設置有第三限位柱(13),所述第三限位柱(13)上套設有連接於第二限位柱(12)並用於限製收卷臂(2)旋轉範圍的連接帶(14)。
5.根據權利要求3所述的鋰電池隔膜探花网站在线观看的收卷機構,其特征是:所述連接盤(10)上固定有連接柱(16),所述連接盤(10)靠近棘輪(9)的一端設置有拉簧(15),所述拉簧(15)的一端固定於棘爪(11)上,所述拉簧(15)的另一端套設於連接柱(16)上。
6.根據權利要求3所述的鋰電池隔膜探花网站在线观看的收卷機構,其特征是:所述連接盤(10)遠離棘輪(9)的一側設置有穿設於收卷主輥(4)上且用於限製連接盤(10)水平方向滑移的第一限位盤(17),所述第一限位盤(17)上螺紋穿設有壓緊於收卷主輥(4)以實現對連接盤(10)進行位置調節的第一調節柱(18)。
7.根據權利要求3所述的鋰電池隔膜探花网站在线观看的收卷機構,其特征是:所述收卷臂(2)遠離棘輪(9)的一側設置有穿設於收卷主輥(4)上且用於限製收卷臂(2)水平方向滑移的第二限位盤(19),所述第二限位盤(19)上螺紋穿設有壓緊於收卷主輥(4)以實現對收卷臂(2)進行位置調節的第二調節柱(20)。
8.根據權利要求1所述的鋰電池隔膜探花网站在线观看的收卷機構,其特征是:所述固定環(5)的兩側分別設置有套設於收卷主輥(4)上且與固定環(5)抵觸的墊片(21)。
9.根據權利要求8所述的鋰電池隔膜探花网站在线观看的收卷機構,其特征是:所述墊片(21)與固定環(5)抵觸一側凸出設置有若幹與固定環(5)抵觸的凸出半球(22)。
10.根據權利要求6所述的鋰電池隔膜探花网站在线观看的收卷機構,其特征是:所述第一限位盤(17)與連接盤(10)之間設置有套設於收卷主輥(4)上的卡環(23)。
技術總結
本實用新型公開了鋰電池隔膜探花网站在线观看的收卷機構,涉及探花网站在线观看技術領域,解決了收卷軸與待收的鋰電池隔膜之間存在一定的距離,使得收卷軸上的鋰電池隔膜不夠緊實,比較雜亂的問題,其技術方案要點是:收卷機架上設置有用於安裝收卷臂的收卷主輥,收卷臂遠離收卷軸的一端一體設置有穿設於收卷主輥上且可周向旋轉的固定環,收卷主輥上套設有與固定環抵觸且用於限製收卷臂旋轉範圍的限位機構,本實用新型的鋰電池隔膜探花网站在线观看的收卷機構,使得收卷臂與將要收卷的鋰電池隔膜抵觸,進而使得收卷軸上的鋰電池隔膜纏繞整齊。
技術研發人員:吳清國;楊建青;汪曉俊;李梓銘
受保護的技術使用者:寧波中科達新午夜探花在线视频有限公司
技術研發日:2017.10.21
技術公布日:2018.05.29