服務熱線
180-5003-0233

1.本實用新型涉及複卷紙機技術領域,更具體地說,本實用新型涉及一種小卷複卷紙機加裝升級自動換卷裝置。
背景技術:
2.複卷機,是一種用於紙類、雲母帶、薄膜專用設備,其用途是將造紙機生產出來的紙卷(稱為原紙卷)進行依次複卷,紙張經過複卷後做成成品紙出廠,隨著時代的發展出現一種小卷複卷紙機用的自動換卷裝置。
3.但是在實際使用時,小卷複卷紙機自動換卷的過程中自動換卷上下料時存在較大時間差,從而影響工作效率,同時在使用時容易因碎屑灰塵影響工作環境,在清理時,需要對裝置暫停使用,才能進行清理,影響工作效率,因此就需要一種小卷複卷紙機加裝升級自動換卷裝置來解決此問題。
技術實現要素:
4.為了克服現有技術的上述缺陷,本實用新型的實施例提供一種小卷複卷紙機加裝升級自動換卷裝置,通過設置的自動換卷機構和廢料收集裝置,可以提高工作效率,保持工作環境的整潔,以解決上述背景技術中提出的問題。
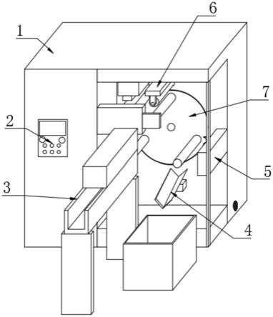
5.為實現上述目的,本實用新型提供如下技術方案:一種小卷複卷紙機加裝升級自動換卷裝置,包括複卷紙機,所述複卷紙機的前側壁體左側設置有控製麵板,所述複卷紙機的前側設置有送料裝置,所述送料裝置的右側設置有下料板,所述複卷紙機的內腔右側固定連接下料裝置,所述複卷紙機的內腔頂部固定連接有下壓裝置,所述複卷紙機的內腔後側設置有自動換卷機構;
6.所述自動換卷機構包括轉動板、轉動杆、收卷軸、第一電機、離心齒輪和第二電機,所述複卷紙機的內腔後側壁體設置有轉動板,所述轉動板的表麵正中插設有轉動杆,所述轉動板的表麵邊緣插設有收卷軸,所述複卷紙機的內腔後側設置有第一電機,所述第一電機的前端固定連接有離心齒輪,所述第一電機的左側設置有第二電機。
7.在一個優選地實施方式中,所述複卷紙機的右側底部插設有集料抽屜,所述複卷紙機的內腔底部設置有液壓推杆,所述液壓推杆的右端固定連接有吸塵口,所述液壓推杆的底部設置有抽氣泵,所述抽氣泵的頂部固定連接有吸塵管,所述抽氣泵的右側固定連接有排塵管。
8.在一個優選地實施方式中,所述吸塵管遠離抽氣泵的一端與吸塵口的左側固定連接,所述吸塵管的中部設置有伸縮管,所述排塵管遠離抽氣泵的一端延伸至集料抽屜的頂部。
9.在一個優選地實施方式中,所述轉動杆的後端固定套設有第一傳動齒輪,所述第一傳動齒輪設置在離心齒輪的左側,所述第一傳動齒輪的右側壁體與離心齒輪的壁體相齧合。
10.在一個優選地實施方式中,所述收卷軸的後端固定套設有第二傳動齒輪,所述第二電機的前端固定套設有主動齒輪,所述主動齒輪設置在左側第二傳動齒輪的左側,所述主動齒輪的壁體與第二傳動齒輪的壁體相齧合。
11.在一個優選地實施方式中,所述收卷軸的數量為三根,均勻設置在轉動板的中部邊緣,所述收卷軸與轉動板轉動連接。
12.在一個優選地實施方式中,所述下料裝置設置在右側收卷軸的正右側,所述送料裝置設置在左側收卷軸的正前方。
13.本實用新型的技術效果和優點:
14.1、通過設置的自動換卷機構,可以通過第一電機帶動離心齒輪旋轉,從而通過第一傳動齒輪帶動轉動杆旋轉,進而帶動轉動板旋轉,使三個收卷軸可以循環轉動,進而方便對收卷軸進行自動更換,方便使用,同時不用對第一電機進行停機,提高工作效率,同時通過第二電機帶動主動齒輪旋轉,進而帶動相對應的第二傳動齒輪旋轉,即可使收進行收卷工作的卷軸旋轉,完成收卷工作,同時在收卷軸完成收卷後,轉動杆旋轉帶動轉動板旋轉,將收卷軸與第二傳動齒輪移走,並逐漸停止轉動,從而方便後麵的下料工作;
15.2、通過設置的集料抽屜、液壓推杆、吸塵口、抽氣泵、吸塵管和排塵管的配合,可以通過啟動抽氣泵通過吸塵口將複卷紙機內腔底部的廢料和灰塵顆粒進行吸收並通過排塵管排入到集料抽屜的內部,進行收集,從而保持收卷環境的幹淨整潔,並通過液壓推杆帶動吸塵口在複卷紙機的內腔底部左右移動,可以提高收集廢料的效率和全麵性。
附圖說明
16.圖1為本實用新型的整體結構示意圖。
17.圖2為本實用新型的自動換卷機構結構示意圖。
18.圖3為本實用新型的複卷紙機的底部剖麵結構示意圖。
19.圖4為本實用新型的離心齒輪的結構示意圖。
20.附圖標記為:1、複卷紙機;2、控製麵板;3、送料裝置;4、下料板;5、下料裝置;6、下壓裝置;7、轉動板;8、轉動杆;9、收卷軸;10、第一電機;11、離心齒輪;12、第二電機;13、集料抽屜;14、液壓推杆;15、吸塵口;16、抽氣泵;17、吸塵管;18、排塵管;19、第一傳動齒輪;20、第二傳動齒輪;21、主動齒輪。
具體實施方式
21.下麵將結合本實用新型實施例中的附圖,對本實用新型實施例中的技術方案進行清楚、完整地描述,顯然,所描述的實施例僅僅是本實用新型一部分實施例,而不是全部的實施例。基於本實用新型中的實施例,本領域普通技術人員在沒有做出創造性勞動前提下所獲得的所有其他實施例,都屬於本實用新型保護的範圍。
22.如附圖1-4所示的一種小卷複卷紙機加裝升級自動換卷裝置,包括複卷紙機1,複卷紙機1的前側壁體左側設置有控製麵板2,複卷紙機1的前側設置有送料裝置3,送料裝置3的右側設置有下料板4,複卷紙機1的內腔右側固定連接下料裝置5,複卷紙機1的內腔頂部固定連接有下壓裝置6,複卷紙機1的內腔後側設置有自動換卷機構;
23.自動換卷機構包括轉動板7、轉動杆8、收卷軸9、第一電機10、離心齒輪11和第二電
機12,複卷紙機1的內腔後側壁體設置有轉動板7,轉動板7的表麵正中插設有轉動杆8,轉動板7的表麵邊緣插設有收卷軸9,複卷紙機1的內腔後側設置有第一電機10,第一電機10的前端固定連接有離心齒輪11,第一電機10的左側設置有第二電機12。
24.如附圖3所示,複卷紙機1的右側底部插設有集料抽屜13,複卷紙機1的內腔底部設置有液壓推杆14,液壓推杆14的右端固定連接有吸塵口15,液壓推杆14的底部設置有抽氣泵16,抽氣泵16的頂部固定連接有吸塵管17,抽氣泵16的右側固定連接有排塵管18,以便於對複卷紙機1的內腔底部進行清理。
25.如附圖3所示,吸塵管17遠離抽氣泵16的一端與吸塵口15的左側固定連接,吸塵管17的中部設置有伸縮管,排塵管18遠離抽氣泵16的一端延伸至集料抽屜13的頂部,以便於通過液壓推杆14將吸塵口15在複卷紙機1的內腔底部左右滑動,並通過抽氣泵16對複卷紙機1內部的灰塵顆粒和意外掉落的廢料進行吸收清理,並排入到集料抽屜13的內部進行收集。
26.如附圖2所示,轉動杆8的後端固定套設有第一傳動齒輪19,第一傳動齒輪19設置在離心齒輪11的左側,第一傳動齒輪19的右側壁體與離心齒輪11的壁體相齧合,以便於通過第一電機10帶動離心齒輪11旋轉從而通過第一傳動齒輪19帶動轉動杆8旋轉,進而使轉動板7可以定時旋轉固定角度,從而方便留有時間上下料。
27.如附圖2所示,收卷軸9的後端固定套設有第二傳動齒輪20,第二電機12的前端固定套設有主動齒輪21,主動齒輪21設置在左側第二傳動齒輪20的左側,主動齒輪21的壁體與第二傳動齒輪20的壁體相齧合,以便於第二傳動齒輪20移動在主動齒輪21的右側並與第二傳動齒輪20相齧合時,可以通過第二電機12帶動主動齒輪21旋轉從而通過第二傳動齒輪20帶動收卷軸9轉動,進行卷紙工作,同時可以在收卷軸9與第二傳動齒輪20移開時停止旋轉,方便下料。
28.如附圖1和2所示,收卷軸9的數量為三根,均勻設置在轉動板7的中部邊緣,收卷軸9與轉動板7轉動連接,以便於一根收卷時,一根下料,一根上料,可以使三根收卷軸9同步進行,節省工作時間,提高工作效率.
29.如附圖1和2所示,下料裝置5設置在右側收卷軸9的正右側,送料裝置3設置在左側收卷軸9的正前方,以便於對收卷軸9進行同時上下料,提高工作效率。
30.本實用新型工作原理:使用時,通過送料裝置3將套筒套在相對應收卷軸9的中部,然後啟動第一電機10帶動離心齒輪11旋轉,當離心齒輪11表麵齒輪移動到左側時與第一傳動齒輪19相齧合,並通過第一傳動齒輪19帶動轉動杆8旋轉一定弧度,從而帶動轉動板7旋轉一定弧度,即可將左側底部收卷軸9移動到頂部,使收卷軸9後側第二傳動齒輪20與主動齒輪21相齧合,從而啟動第二電機12通過主動齒輪21帶動相對應的第二傳動齒輪20與收卷軸9旋轉,進行收卷工作,同時底部送料裝置3會將套筒套在相對應收卷軸9的中部;
31.當收卷完成時,剛好離心齒輪11轉動一圈並繼續帶動第一傳動齒輪19旋轉,以此帶動轉動板7旋轉,從而使收卷完成的收卷軸9移動到右側底部,完成套筒上料的收卷軸9移動到頂部進行收卷,即可完成自動換卷工作,提高工作效率,然後通過下料裝置5對需要下料的收卷軸9進行下料,即可完成循環自動換卷和上料下料的工作;
32.當需要對複卷紙機1內腔底部進行清理時,啟動抽氣泵16通過吸塵口15與吸塵管17進行吸收清理,並通過排塵管18傳入集料抽屜13的內部,進行集中處理,同時可以通過啟
動液壓推杆14帶動吸塵口15左右移動,可以提高對複卷紙機1內腔底部清理的效率和質量。
33.最後應說明的幾點是:首先,在本技術的描述中,需要說明的是,除非另有規定和限定,術語“安裝”、“相連”、“連接”應做廣義理解,可以是機械連接或電連接,也可以是兩個元件內部的連通,可以是直接相連,“上”、“下”、“左”、“右”等僅用於表示相對位置關係,當被描述對象的絕對位置改變,則相對位置關係可能發生改變;
34.其次:本實用新型公開實施例附圖中,隻涉及到與本公開實施例涉及到的結構,其他結構可參考通常設計,在不衝突情況下,本實用新型同一實施例及不同實施例可以相互組合;
35.最後:以上所述僅為本實用新型的優選實施例而已,並不用於限製本實用新型,凡在本實用新型的精神和原則之內,所作的任何修改、等同替換、改進等,均應包含在本實用新型的保護範圍之內。
技術特征:
1.一種小卷複卷紙機加裝升級自動換卷裝置,包括複卷紙機(1),其特征在於:所述複卷紙機(1)的前側壁體左側設置有控製麵板(2),所述複卷紙機(1)的前側設置有送料裝置(3),所述送料裝置(3)的右側設置有下料板(4),所述複卷紙機(1)的內腔右側固定連接下料裝置(5),所述複卷紙機(1)的內腔頂部固定連接有下壓裝置(6),所述複卷紙機(1)的內腔後側設置有自動換卷機構;所述自動換卷機構包括轉動板(7)、轉動杆(8)、收卷軸(9)、第一電機(10)、離心齒輪(11)和第二電機(12),所述複卷紙機(1)的內腔後側壁體設置有轉動板(7),所述轉動板(7)的表麵正中插設有轉動杆(8),所述轉動板(7)的表麵邊緣插設有收卷軸(9),所述複卷紙機(1)的內腔後側設置有第一電機(10),所述第一電機(10)的前端固定連接有離心齒輪(11),所述第一電機(10)的左側設置有第二電機(12)。2.根據權利要求1所述的一種小卷複卷紙機加裝升級自動換卷裝置,其特征在於:所述複卷紙機(1)的右側底部插設有集料抽屜(13),所述複卷紙機(1)的內腔底部設置有液壓推杆(14),所述液壓推杆(14)的右端固定連接有吸塵口(15),所述液壓推杆(14)的底部設置有抽氣泵(16),所述抽氣泵(16)的頂部固定連接有吸塵管(17),所述抽氣泵(16)的右側固定連接有排塵管(18)。3.根據權利要求2所述的一種小卷複卷紙機加裝升級自動換卷裝置,其特征在於:所述吸塵管(17)遠離抽氣泵(16)的一端與吸塵口(15)的左側固定連接,所述吸塵管(17)的中部設置有伸縮管,所述排塵管(18)遠離抽氣泵(16)的一端延伸至集料抽屜(13)的頂部。4.根據權利要求1所述的一種小卷複卷紙機加裝升級自動換卷裝置,其特征在於:所述轉動杆(8)的後端固定套設有第一傳動齒輪(19),所述第一傳動齒輪(19)設置在離心齒輪(11)的左側,所述第一傳動齒輪(19) 的右側壁體與離心齒輪(11)的壁體相齧合。5.根據權利要求1所述的一種小卷複卷紙機加裝升級自動換卷裝置,其特征在於:所述收卷軸(9)的後端固定套設有第二傳動齒輪(20),所述第二電機(12)的前端固定套設有主動齒輪(21),所述主動齒輪(21)設置在左側第二傳動齒輪(20)的左側,所述主動齒輪(21)的壁體與第二傳動齒輪(20)的壁體相齧合。6.根據權利要求1所述的一種小卷複卷紙機加裝升級自動換卷裝置,其特征在於:所述收卷軸(9)的數量為三根,均勻設置在轉動板(7)的中部邊緣,所述收卷軸(9)與轉動板(7)轉動連接。7.根據權利要求1所述的一種小卷複卷紙機加裝升級自動換卷裝置,其特征在於:所述下料裝置(5)設置在右側收卷軸(9)的正右側,所述送料裝置(3)設置在左側收卷軸(9)的正前方。
技術總結
本實用新型公開了一種小卷複卷紙機加裝升級自動換卷裝置,具體涉及複卷紙機領域,包括複卷紙機,所述複卷紙機的前側壁體左側設置有控製麵板,所述複卷紙機的前側設置有送料裝置,所述送料裝置的右側設置有下料板,所述複卷紙機的內腔右側固定連接下料裝置,所述複卷紙機的內腔頂部固定連接有下壓裝置,所述複卷紙機的內腔後側設置有自動換卷機構。本實用新型通過設置的自動換卷機構,可以通過第一電機帶動離心齒輪旋轉,從而通過第一傳動齒輪帶動轉動杆旋轉,進而帶動轉動板旋轉,使三個收卷軸可以循環轉動,進而方便對收卷軸進行自動更換,方便使用,同時不用對第一電機進行停機,提高工作效率。高工作效率。高工作效率。
技術研發人員:徐飛
受保護的技術使用者:北京愛華中興紙業有限公司
技術研發日:2021.11.05
技術公布日:2022/4/5