服務熱線
180-5003-0233

本實用新型涉及鋰離子電池領域,具體涉及一種應用於鋰離子電池探花网站在线观看的極片卷固定裝置。
背景技術:
鋰離子電池探花网站在线观看是一種將單個極片卷沿著極片卷的軸向分切成多個極片卷的設備,其在鋰離子電池的生產過程中有著比較廣泛的應用。
目前所使用的鋰離子電池探花网站在线观看中,由於其對極片卷沒有穩固的定位裝置,因而在分切過程中,極片卷很容易發生橫向偏離從而導致極片橫向尺寸的錯誤,一方麵降低了分切的精度,另一方麵也降低了分切效率。
技術實現要素:
鑒於此,本實用新型提供了一種應用於鋰離子電池探花网站在线观看的極片卷固定裝置,以有效地提高鋰離子電池探花网站在线观看的分切效率和分切精度。
為此,本實用新型提供了一種應用於鋰離子電池探花网站在线观看的極片卷固定裝置,其包括基板,基板上設置有平行布置的兩定位槽,兩定位槽上可拆卸地連接有兩平行布置的擋板,兩擋板沿著垂直方向布置,兩擋板之間形成固定空間,兩擋板內穿設有水平布置的上壓板,上壓板平行於基板布置。
進一步地,上述擋板的底部具有兩平行布置的定位腳,定位腳可拆卸地連接於定位槽內。
進一步地,上述基板的側麵設置有第一螺孔,第一螺孔內安裝有第一螺絲,第一螺絲的端部連接擋板的底部。
進一步地,上述基板的表麵開設有沿著基板的厚度方向延伸的第二螺孔,第二螺孔內安裝有第二螺絲。
進一步地,上述基板的表麵設置有刻度線,其平行於上壓板布置。
本實用新型所提供的一種應用於鋰離子電池探花网站在线观看的極片卷固定裝置,該裝置主要由上壓板、基板和兩擋板組成,基板上設置兩定位槽,擋板接入定位槽後,可以沿定位槽的長度方向移動擋板,從而可調整兩擋板之間的間距以適合極片寬度,調整好兩擋板之間的間距後,極片卷從兩擋板間通過,進入探花网站在线观看,上壓板用於固定極片,以防極片上下擺動;因而,本裝置可以適合於多種寬度尺寸的極片的分切過程,有效地提高鋰離子電池探花网站在线观看的分切效率和分切精度。
附圖說明
通過閱讀下文優選實施方式的詳細描述,各種其他的優點和益處對於本領域普通技術人員將變得清楚明了。附圖僅用於示出優選實施方式的目的,而並不認為是對本實用新型的限製。而且在整個附圖中,用相同的參考符號表示相同的部件。在附圖中:
圖1為本實用新型實施例提供的一種應用於鋰離子電池探花网站在线观看的極片卷固定裝置的立體圖;
圖2為本實用新型實施例提供的一種應用於鋰離子電池探花网站在线观看的極片卷固定裝置的側視圖;
圖3為本實用新型實施例提供的一種應用於鋰離子電池探花网站在线观看的極片卷固定裝置的俯視圖。
具體實施方式
下麵將參照附圖更詳細地描述本公開的示例性實施例。雖然附圖中顯示了本公開的示例性實施例,然而應當理解,可以以各種形式實現本公開而不應被這裏闡述的實施例所限製。相反,提供這些實施例是為了能夠更透徹地理解本公開,並且能夠將本公開的範圍完整的傳達給本領域的技術人員。
實施例一:
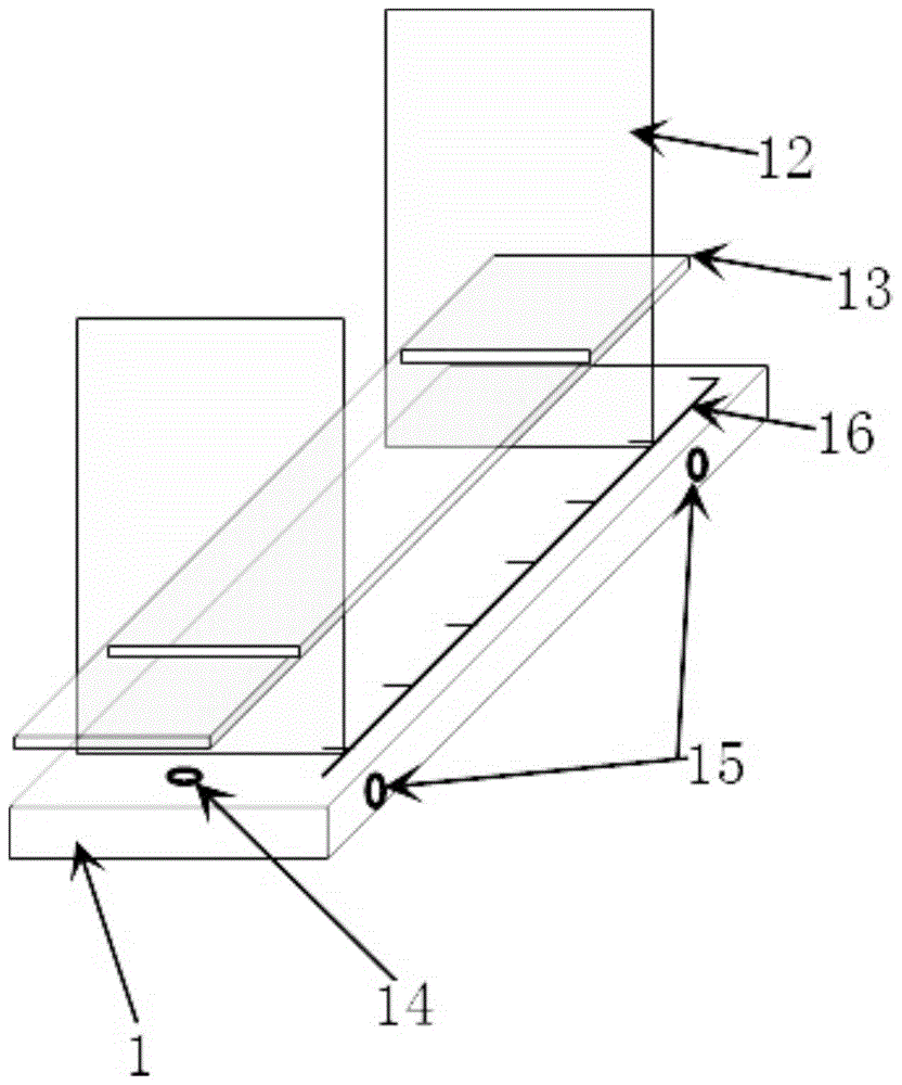
參見圖1至圖3,圖中示出了本實用新型實施例一提供的一種應用於鋰離子電池探花网站在线观看的極片卷固定裝置,其包括基板1,基板1上設置有平行布置的兩定位槽11,兩定位槽11上可拆卸地連接有兩平行布置的擋板12,兩擋板12沿著垂直方向布置,兩擋板12之間形成固定空間,兩擋板12內穿設有水平布置的上壓板13,上壓板13平行於基板1布置。
本實施例所提供的一種應用於鋰離子電池探花网站在线观看的極片卷固定裝置,該裝置主要由上壓板、基板和兩擋板組成,基板上設置兩定位槽,擋板接入定位槽後,可以沿定位槽的長度方向移動擋板,從而可調整兩擋板之間的間距以適合極片寬度,調整好兩擋板之間的間距後,極片卷從兩擋板間通過,進入探花网站在线观看,上壓板用於固定極片,以防極片上下擺動;因而,本裝置可以適合於多種寬度尺寸的極片的分切過程,有效地提高鋰離子電池探花网站在线观看的分切效率和分切精度。
實施例二:
參見圖1至圖3,圖中示出了本實用新型實施例二提供的一種應用於鋰離子電池探花网站在线观看的極片卷固定裝置,其在上述實施例一的基礎上還作了以下改進:擋板12的底部具有兩平行布置的定位腳121,定位腳121可拆卸地連接於定位槽11內,可以實現擋板更為穩固的移動。
同時,基板1的側麵設置有第一螺孔14,第一螺孔14內安裝有第一螺絲141,第一螺絲141的端部連接擋板12的底部,可以在調節好兩擋板的間距後實現擋板的位置固定。
實施例三:
參見圖1至圖3,圖中示出了本實用新型實施例三提供的一種應用於鋰離子電池探花网站在线观看的極片卷固定裝置,其在上述實施例一的基礎上還作了以下改進:基板1的表麵開設有沿著基板1的厚度方向延伸的第二螺孔15,第二螺孔15內安裝有第二螺絲,可以實現對於基板在台麵或者其他基層上的固定。
實施例四:
參見圖1至圖3,圖中示出了本實用新型實施例四提供的一種應用於鋰離子電池探花网站在线观看的極片卷固定裝置,其在上述實施例一的基礎上還作了以下改進:基板1的表麵設置有刻度線16,其平行於上壓板13布置,可以獲知兩擋板之間的距離大小,直觀地達到所需要的間距。
顯然,本領域的技術人員可以對本實用新型進行各種改動和變型而不脫離本實用新型的精神和範圍。這樣,倘若本實用新型的這些修改和變型屬於本實用新型權利要求及其等同技術的範圍之內,則本實用新型也意圖包含這些改動和變型在內。
技術特征:
1.一種應用於鋰離子電池探花网站在线观看的極片卷固定裝置,其特征在於,包括基板(1),所述基板(1)上設置有平行布置的兩定位槽(11),所述兩定位槽(11)上可拆卸地連接有兩平行布置的擋板(12),兩所述擋板(12)沿著垂直方向布置,兩所述擋板(12)之間形成固定空間,兩所述擋板(12)內穿設有水平布置的上壓板(13),所述上壓板(13)平行於所述基板(1)布置。
2.根據權利要求1所述的一種應用於鋰離子電池探花网站在线观看的極片卷固定裝置,其特征在於,所述擋板(12)的底部具有兩平行布置的定位腳(121),所述定位腳(121)可拆卸地連接於所述定位槽(11)內。
3.根據權利要求1或2所述的一種應用於鋰離子電池探花网站在线观看的極片卷固定裝置,其特征在於,所述基板(1)的側麵設置有第一螺孔(14),所述第一螺孔(14)內安裝有第一螺絲,所述第一螺絲的端部連接所述擋板(12)的底部。
4.根據權利要求1所述的一種應用於鋰離子電池探花网站在线观看的極片卷固定裝置,其特征在於,所述基板(1)的表麵開設有沿著所述基板(1)的厚度方向延伸的第二螺孔(15),所述第二螺孔(15)內安裝有第二螺絲。
5.根據權利要求1所述的一種應用於鋰離子電池探花网站在线观看的極片卷固定裝置,其特征在於,所述基板(1)的表麵設置有刻度線(16),其平行於所述上壓板(13)布置。
技術總結
本實用新型提供了一種應用於鋰離子電池探花网站在线观看的極片卷固定裝置,其包括基板,基板上設置有平行布置的兩定位槽,兩定位槽上可拆卸地連接有兩平行布置的擋板,兩擋板沿著垂直方向布置,兩擋板之間形成固定空間,兩擋板內穿設有水平布置的上壓板,上壓板平行於基板布置。本實用新型相較於現有技術可以適合於多種寬度尺寸的極片的分切過程,有效地提高鋰離子電池探花网站在线观看的分切效率和分切精度。
技術研發人員:楊紅霞;鄭榮鵬;尚隨軍;毛煥宇
受保護的技術使用者:蘇州宇量電池有限公司
技術研發日:2018.11.30
技術公布日:2019.08.30