探花网址在线观看,探花网站在线观看,午夜探花在线视频,国产探花在线观看

    行業新聞

    當前位置:首頁/新聞中心/行業新聞

    一種探花网站在线观看的直刀刀架機構的製作方法

    2024年03月25日國知局瀏覽量:0

    一種探花网站在线观看的直刀刀架機構的製作方法

    本實用新型涉及探花网站在线观看技術領域,具體為一種探花网站在线观看的直刀刀架機構。

    背景技術:

    傳統的探花网站在线观看的直刀刀架機構結構較為複雜,操作流程較為繁瑣,在使用時非常不便,同時傳統的探花网站在线观看的直刀刀架機構上刀片的刀尖全部暴露在外界,而分切隻需要一個刀尖,因此多其它三個刀尖經常劃傷工作人員以及磨損非常嚴重,使刀片的利用率較低,同時在更換刀片時,由於一般都會在機器上直接更換,傳統的探花网站在线观看的直刀刀架機構在更換時刀片經常掉落到機器內部,對機器造成損傷同時清理較為不便,影響工作效率。

    技術實現要素:

    針對現有技術的不足,本實用新型提供了一種探花网站在线观看的直刀刀架機構,解決了上述背景技術中提出的問題。

    為實現以上目的,本實用新型通過以下技術方案予以實現:一種探花网站在线观看的直刀刀架機構,包括第一直刀架刀座、小過渡輥、劃刀軸,所述第一直刀架刀座的一側固定連接有支撐大板,所述第一直刀架刀座的一側固定連接有位於支撐大板兩側的蝸座,所述第一直刀架刀座的底部活動套接有劃刀軸,所述劃刀軸的兩端均延伸至第一直刀架刀座的外部,所述劃刀軸的一端延伸至支撐大板的內腔,所述第一直刀架刀座的中部活動套接有小過渡輥,所述第一直刀架刀座的內側均固定連接有固定板,所述固定板的內腔活動套接至劃刀軸的表麵。

    可選的,所述劃刀軸的一端固定連接有直刀連軸銷,所述直刀連軸銷的一端固定套接有渦輪,所述劃刀軸的上表麵固定連接有位於第一直刀架刀座內側的精密刀碼,所述劃刀軸的上表麵固定安裝有位於精密刀碼內部的直刀刀座。

    可選的,所述蝸座的數量為兩個,兩個所述蝸座的內部均活動套接有蝸杆,所述蝸杆的表麵與渦輪的側麵相齧合,所述蝸杆的一端延伸至蝸座的外部,所述蝸杆的一端固定連接連杆,所述連杆的一端固定連接有手搖輪。

    可選的,所述小過渡輥的數量為兩個,兩個所述小過渡輥的表麵放置有薄膜。

    可選的,所述直刀刀座的一端延伸至精密刀碼的外部,所述直刀刀座的一側固定連接有導柱,所述直刀刀座的中部通過螺栓螺紋固定有刀片,所述刀片套接至導柱的表麵,所述直刀刀座的內部固定連接有吸附磁鐵,所述刀片有四個刀尖,且三個刀尖位於直刀刀座的內部。

    可選的,所述精密刀碼的刀碼寬度與薄膜的切割寬度相適配。

    本實用新型提供了一種探花网站在线观看的直刀刀架機構,具備以下有益效果:

    1、該探花网站在线观看的直刀刀架機構,通過吸附磁鐵和導柱的配合使用,利用導柱對刀片的位置進行限定,進而避免刀片隨意晃動,同時利用吸附磁鐵對刀片進行吸附,進而避免了在機器上更換刀片時,刀片掉入機器內部對機器造成損傷的問題,提高了該探花网站在线观看的直刀刀架機構的穩定性。

    2、該探花网站在线观看的直刀刀架機構,通過直刀刀座和刀片的配合使用,利用直刀刀座對刀片進行安裝,使刀片上的三個刀尖隱藏在直刀刀座中間留出一個刀尖進行分切,避免了傳統的探花网站在线观看的直刀刀架機構在安裝刀片時刀尖全部暴露在外界導致多餘的刀尖經常受損以及劃傷工作人員的問題,提高了該探花网站在线观看的直刀刀架機構的使用安全性,同時保證了四個刀尖都可以利用到,最大程度的提高刀片的使用效率,提高了該探花网站在线观看的直刀刀架機構的實用性。

    附圖說明

    圖1為本實用新型結構示意圖;

    圖2為本實用新型立體的結構示意圖;

    圖3為本實用新型左視的結構示意圖;

    圖4為本實用新型右視的結構示意圖;

    圖5為本實用新型剖視的結構示意圖;

    圖6為本實用新型直刀刀座的結構示意圖。

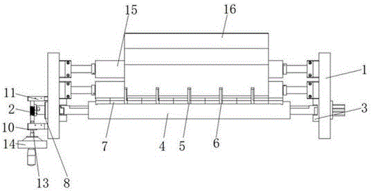
    圖中:1、第一直刀架刀座;2、直刀連軸銷;3、固定板;4、劃刀軸;5、刀片;6、直刀刀座;7、精密刀碼;8、支撐大板;9、渦輪;10、導柱;11、蝸座;12、蝸杆;13、連杆;14、手搖輪;15、小過渡輥;16、薄膜;17、吸附磁鐵。

    具體實施方式

    下麵將結合本實用新型實施例中的附圖,對本實用新型實施例中的技術方案進行清楚、完整地描述,顯然,所描述的實施例僅僅是本實用新型一部分實施例,而不是全部的實施例。

    請參閱圖1至圖6,本實用新型提供一種技術方案:一種探花网站在线观看的直刀刀架機構,包括第一直刀架刀座1、小過渡輥15、劃刀軸4,第一直刀架刀座1的一側固定連接有支撐大板8,第一直刀架刀座1的一側固定連接有位於支撐大板8兩側的蝸座11,第一直刀架刀座1的底部活動套接有劃刀軸4,劃刀軸4的兩端均延伸至第一直刀架刀座1的外部,劃刀軸4的一端延伸至支撐大板8的內腔,第一直刀架刀座1的中部活動套接有小過渡輥15,第一直刀架刀座1的內側均固定連接有固定板3,固定板3的內腔活動套接至劃刀軸4的表麵。

    其中,劃刀軸4的一端固定連接有直刀連軸銷2,直刀連軸銷2的一端固定套接有渦輪9,劃刀軸4的上表麵固定連接有位於第一直刀架刀座1內側的精密刀碼7,劃刀軸4的上表麵固定安裝有位於精密刀碼7內部的直刀刀座6,通過劃刀軸4對精密刀碼7以及直刀刀座6進行固定,通過劃刀軸4進行轉動,進而使該探花网站在线观看的直刀刀架機構進行分切。

    其中,蝸座11的數量為兩個,兩個蝸座11的內部均活動套接有蝸杆12,蝸杆12的表麵與渦輪9的側麵相齧合,蝸杆12的一端延伸至蝸座11的外部,蝸杆12的一端固定連接連杆13,所述連杆13的一端固定連接有手搖輪14,通過渦輪9和蝸杆12組成蝸輪蝸杆機構,利用手搖輪14對蝸杆12進行作用,使蝸杆12進行轉動,進而帶動渦輪9進行轉動,繼而帶動劃刀軸4轉動完成分切,提高了該探花网站在线观看的直刀刀架機構的使用便捷性。

    其中,小過渡輥15的數量為兩個,兩個小過渡輥15的表麵放置有薄膜16,通過小過渡輥15對薄膜16進行放置,使劃刀軸4在轉動對薄膜16進行切割時,利用小過渡輥15對薄膜16進行格擋,進而避免薄膜16隨意偏移,提高了該探花网站在线观看的直刀刀架機構的穩定性。

    其中,直刀刀座6的一端延伸至精密刀碼7的外部,直刀刀座6的一側固定連接有導柱10,直刀刀座6的中部通過螺栓螺紋固定有刀片5,刀片5套接至導柱10的表麵,直刀刀座6的內部固定連接有吸附磁鐵17,刀片5有四個刀尖,且三個刀尖位於直刀刀座6的內部,通過吸附磁鐵17對刀片5進行吸附,進而避免在機器上更換刀片5時,刀片5掉入機器中,對機器造成損傷,同時利用直刀刀座6對刀片5進行安裝,使刀片5上的三個刀尖隱藏在直刀刀座6的內部,進而避免多餘的刀尖受損以及劃傷工作人員的問題,提高了該探花网站在线观看的直刀刀架機構的使用安全,同時利用一個刀尖露出,用來分切薄膜16,當此刀尖磨損後,鬆開螺栓,將刀片5旋轉90度就可以用另一個刀尖切薄膜,這樣保證四個刀尖都可以利用到,最大程度的提高刀片的使用效率,提高了該探花网站在线观看的直刀刀架機構的實用性。

    其中,精密刀碼7的刀碼寬度與薄膜16的切割寬度相適配,由於薄膜16的分切寬定由精密刀碼7的刀碼寬度決定,通過設置不同的刀碼寬度,例如寬度50/20/10/5/2/1/0.5/0.2/0.1可以達到任意想要的寬度,進而提高了該探花网站在线观看的直刀刀架機構的分切效果。

    綜上,該探花网站在线观看的直刀刀架機構,使用時,首先根據薄膜16的分切寬度選擇不同寬度的精密刀碼7,例如寬度50/20/10/5/2/1/0.5/0.2/0.1,然後將刀片5套接在導柱10的表麵與直刀刀座6相接觸,使用螺栓對刀片5進行安裝,安裝後將薄膜16放置在小過渡輥15的表麵,且將薄膜16放置在劃刀軸4的內側,順時針旋轉手搖輪14輪,通過渦輪9和蝸杆12組成的蝸輪蝸杆機構帶動劃刀軸4順時針轉動,從而使刀片5到達指定的位置與薄膜16接觸,當薄膜16隨小過渡輥15以及劃刀軸4運動時,刀片5按指定的距離劃開薄膜16,即可。

    以上所述,僅為本實用新型較佳的具體實施方式,但本實用新型的保護範圍並不局限於此,任何熟悉本技術領域的技術人員在本實用新型揭露的技術範圍內,根據本實用新型的技術方案及其實用新型構思加以等同替換或改變,都應涵蓋在本實用新型的保護範圍之內。

    技術特征:

    1.一種探花网站在线观看的直刀刀架機構,包括第一直刀架刀座(1)、小過渡輥(15)、劃刀軸(4),其特征在於:所述第一直刀架刀座(1)的一側固定連接有支撐大板(8),所述第一直刀架刀座(1)的一側固定連接有位於支撐大板(8)兩側的蝸座(11),所述第一直刀架刀座(1)的底部活動套接有劃刀軸(4),所述劃刀軸(4)的兩端均延伸至第一直刀架刀座(1)的外部,所述劃刀軸(4)的一端延伸至支撐大板(8)的內腔,所述第一直刀架刀座(1)的中部活動套接有小過渡輥(15),所述第一直刀架刀座(1)的內側均固定連接有固定板(3),所述固定板(3)的內腔活動套接至劃刀軸(4)的表麵。

    2.根據權利要求1所述的一種探花网站在线观看的直刀刀架機構,其特征在於:所述劃刀軸(4)的一端固定連接有直刀連軸銷(2),所述直刀連軸銷(2)的一端固定套接有渦輪(9),所述劃刀軸(4)的上表麵固定連接有位於第一直刀架刀座(1)內側的精密刀碼(7),所述劃刀軸(4)的上表麵固定安裝有位於精密刀碼(7)內部的直刀刀座(6)。

    3.根據權利要求1所述的一種探花网站在线观看的直刀刀架機構,其特征在於:所述蝸座(11)的數量為兩個,兩個所述蝸座(11)的內部均活動套接有蝸杆(12),所述蝸杆(12)的表麵與渦輪(9)的側麵相齧合,所述蝸杆(12)的一端延伸至蝸座(11)的外部,所述蝸杆(12)的一端固定連接連杆(13),所述連杆(13)的一端固定連接有手搖輪(14)。

    4.根據權利要求1所述的一種探花网站在线观看的直刀刀架機構,其特征在於:所述小過渡輥(15)的數量為兩個,兩個所述小過渡輥(15)的表麵放置有薄膜(16)。

    5.根據權利要求2所述的一種探花网站在线观看的直刀刀架機構,其特征在於:所述直刀刀座(6)的一端延伸至精密刀碼(7)的外部,所述直刀刀座(6)的一側固定連接有導柱(10),所述直刀刀座(6)的中部通過螺栓螺紋固定有刀片(5),所述刀片(5)套接至導柱(10)的表麵,所述直刀刀座(6)的內部固定連接有吸附磁鐵(17),所述刀片(5)有四個刀尖,且三個刀尖位於直刀刀座(6)的內部。

    6.根據權利要求2所述的一種探花网站在线观看的直刀刀架機構,其特征在於:所述精密刀碼(7)的刀碼寬度與薄膜(16)的切割寬度相適配。

    技術總結

    本實用新型公開了一種探花网站在线观看的直刀刀架機構,涉及探花网站在线观看技術領域,具體為一種探花网站在线观看的直刀刀架機構,包括第一直刀架刀座、小過渡輥、劃刀軸,所述第一直刀架刀座的一側固定連接有支撐大板,所述第一直刀架刀座的一側固定連接有位於支撐大板兩側的蝸座,所述第一直刀架刀座的底部活動套接有劃刀軸。該探花网站在线观看的直刀刀架機構,通過吸附磁鐵和導柱的配合使用,利用導柱對刀片的位置進行限定,進而避免刀片隨意晃動,同時利用吸附磁鐵對刀片進行吸附,進而避免了在機器上更換刀片時,刀片掉入機器內部對機器造成損傷的問題,提高了該探花网站在线观看的直刀刀架機構的穩定性。

    技術研發人員:孫海峰

    受保護的技術使用者:孫海峰

    技術研發日:2019.12.05

    技術公布日:2020.08.18

    網站地圖