服務熱線
180-5003-0233

1.本實用新型涉及聚酰亞胺膠帶加工技術領域,尤其涉及雙麵防靜電聚酰亞胺膠帶加工用分切裝置。
背景技術:
2.聚酰亞胺膠帶,是以聚酰亞胺薄膜為基材,采用進口有機矽壓敏膠粘劑,具有耐高低溫、耐酸堿、耐溶劑、電氣絕緣(h級)、防輻射等性能,適用於電子線路板波峰焊錫遮蔽、保護金手指和高檔電器絕緣、馬達絕緣,以及鋰電池正負極耳固定,而分切裝置是對聚酰亞胺膠帶進行分切的重要設備之一。
3.目前現有的部分分切裝置,往往在實際的分切的過程中,隻能對特定位置的聚酰亞胺膠帶進行分切,且分切裝置本身不具備調節功能,使得需要分切不同規格的聚酰亞胺膠帶時,需要更換幾種設備,且分切後需要人工進行取料,從而繼而降低使用效果。
技術實現要素:
4.本實用新型的目的是為了解決現有技術中存在的缺點,而提出的雙麵防靜電聚酰亞胺膠帶加工用分切裝置。
5.為了實現上述目的,本實用新型采用了如下技術方案:雙麵防靜電聚酰亞胺膠帶加工用分切裝置,包括加工台,所述加工台頂部固定連接有加工外殼,所述加工外殼外側壁固定連接有驅動電機,所述驅動電機輸出端固定連接有驅動杆,所述驅動杆末端貫穿加工外殼並延伸至加工外殼內部,所述驅動杆外側壁固定套接有第一齒輪,所述加工外殼內壁兩側之間固定連接有移動板,所述加工外殼內壁兩側之間轉動連接有移動螺杆,所述加工外殼外側壁連接有用於驅動所述移動螺杆旋轉的驅動組件,所述移動螺杆外側壁螺紋連接有切分組件,所述加工外殼內壁開設有滑動槽,所述滑動槽內部滑動連接有t形塊,所述t形塊末端固定連接有推料組件。
6.作為上述技術方案的進一步描述:
7.所述驅動組件包括與加工外殼外側壁固定連接的伺服電機,所述伺服電機輸出軸貫穿加工外殼並固定連接有第二傳動盤,所述移動螺杆外側壁固定套接有第一傳動盤和限位卡板,所述第二傳動盤通過皮帶與第一傳動盤傳動連接。
8.作為上述技術方案的進一步描述:
9.所述第二傳動盤通過皮帶與第一傳動盤傳動連接。
10.作為上述技術方案的進一步描述:
11.所述切分組件包括與移動螺杆外側壁螺紋連接的安裝套塊,所述安裝套塊背麵固定連接有移動滑塊,所述移動板外表麵開設有移動槽,所述移動滑塊與移動槽內部滑動連接,所述安裝套塊底部固定連接有調節電動推杆,所述調節電動推杆活塞端固定連接有探花网站在线观看構。
12.作為上述技術方案的進一步描述:
13.所述推料組件包括與t形塊側壁固定連接的連接板,所述連接板側壁固定連接有導向杆,所述導向杆外側壁活動套接有連接套塊,所述導向杆末端固定連接有限位板,所述連接板側壁轉動連接有連接螺杆,所述連接螺杆末端與限位板轉動連接,所述連接螺杆外側壁螺紋連接有推料板,所述連接套塊頂部與推料板固定連接。
14.作為上述技術方案的進一步描述:
15.所述連接螺杆外側壁固定套接有第二齒輪,所述第二齒輪與第一齒輪相適配。
16.作為上述技術方案的進一步描述:
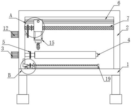
17.所述加工台頂部固定連接有連接電動推杆,所述連接電動推杆活塞端與t形塊固定連接。
18.本實用新型具有如下有益效果:
19.通過驅動組件、切分組件和推料組件之間的配合,利用驅動組件可使伺服電機帶動移動螺杆進行旋轉,便於移動螺杆帶動切分組件根據需要調節到合適的距離進行切分,利用切分組件可使調節電動推杆帶動探花网站在线观看構調節到合適的高度,便於對不同厚度的聚酰亞胺膠帶進行切分,利用電動推杆推動可使t形塊在滑動槽內部移動,便於推料組件上的第二齒輪與驅動杆上的第一齒輪齧合,利用驅動電機可使驅動杆帶動第一齒輪和第二齒輪旋轉,便於第二齒輪上的連接螺杆也進行旋轉,同時推料板在連接螺杆移動,從而推動切分後的聚酰亞胺膠帶,使得分切裝置本身具備調節功能,可以根據不同規格分切,無需更換幾種設備和人工取料。
附圖說明
20.圖1為本實用新型提出的雙麵防靜電聚酰亞胺膠帶加工用分切裝置的整體結構示意圖;
21.圖2為圖1中a處放大結構示意圖;
22.圖3為圖1中b處放大結構示意圖;
23.圖4為本實用新型提出的雙麵防靜電聚酰亞胺膠帶加工用分切裝置的驅動電機和驅動杆結構示意圖。
24.圖例說明:
25.1、加工台;2、加工外殼;3、驅動電機;4、驅動杆;5、第一齒輪;6、移動板;7、移動螺杆;8、安裝套塊;9、移動滑塊;10、第一傳動盤;11、限位卡板;12、伺服電機;13、第二傳動盤;14、調節電動推杆;15、探花网站在线观看構;16、t形塊;17、連接板;18、導向杆;19、限位板;20、連接套塊;21、連接螺杆;22、推料板;23、第二齒輪;24、連接電動推杆。
具體實施方式
26.下麵將結合本實用新型實施例中的附圖,對本實用新型實施例中的技術方案進行清楚、完整地描述,顯然,所描述的實施例僅僅是本實用新型一部分實施例,而不是全部的實施例。基於本實用新型中的實施例,本領域普通技術人員在沒有做出創造性勞動前提下所獲得的所有其他實施例,都屬於本實用新型保護的範圍。
27.參照圖1-4,本實用新型提供的雙麵防靜電聚酰亞胺膠帶加工用分切裝置,包括加工台1,加工台1頂部固定連接有加工外殼2,加工外殼2外側壁固定連接有驅動電機3,驅動
電機3輸出端固定連接有驅動杆4,驅動杆4末端貫穿加工外殼2並延伸至加工外殼2內部,驅動杆4外側壁固定套接有第一齒輪5,加工外殼2內壁兩側之間固定連接有移動板6,加工外殼2內壁兩側之間轉動連接有移動螺杆7,加工外殼2外側壁連接有用於驅動移動螺杆7旋轉的驅動組件,通過驅動電機3以便帶動驅動杆4進行旋轉,參照圖1和圖2,驅動組件包括與加工外殼2外側壁固定連接的伺服電機12,伺服電機12輸出軸貫穿加工外殼2並固定連接有第二傳動盤13,移動螺杆7外側壁固定套接有第一傳動盤10和限位卡板11,第二傳動盤13通過皮帶與第一傳動盤10傳動連接,通過伺服電機12和第二傳動盤13配合,以便第二傳動盤13上的皮帶帶動第一傳動盤10上的移動螺杆7進行旋轉。
28.其中,移動螺杆7外側壁螺紋連接有切分組件,參照圖2和圖1,切分組件包括與移動螺杆7外側壁螺紋連接的安裝套塊8,安裝套塊8背麵固定連接有移動滑塊9,移動板6外表麵開設有移動槽,移動滑塊9與移動槽內部滑動連接,安裝套塊8底部固定連接有調節電動推杆14,調節電動推杆14活塞端固定連接有探花网站在线观看構15,通過探花网站在线观看構15起到切割聚酰亞胺膠帶的作用。
29.具體的,加工外殼2內壁開設有滑動槽,滑動槽內部滑動連接有t形塊16,t形塊16末端固定連接有推料組件,參照圖3和圖1,推料組件包括與t形塊16側壁固定連接的連接板17,連接板17側壁固定連接有導向杆18,導向杆18外側壁活動套接有連接套塊20,導向杆18末端固定連接有限位板19,連接板17側壁轉動連接有連接螺杆21,連接螺杆21末端與限位板19轉動連接,連接螺杆21外側壁螺紋連接有推料板22,連接套塊20頂部與推料板22固定連接,連接螺杆21外側壁固定套接有第二齒輪23,第二齒輪23與第一齒輪5齧合連接,通過第二齒輪23與第一齒輪5齧合,以便帶動連接螺杆21進行旋轉。
30.參照圖3,加工台1頂部固定連接有連接電動推杆24,連接電動推杆24活塞端與t形塊16固定連接,通過連接電動推杆24以便帶動t形塊16在滑動槽內部移動。
31.工作原理:切分時,先將需要切分的聚酰亞胺膠帶套接在驅動杆4上,接著啟動伺服電機12,通過伺服電機12帶動第二傳動盤13進行旋轉,使得第二傳動盤13通過皮帶帶動第一傳動盤10和移動螺杆7進行旋轉,同時安裝套塊8在移動螺杆7上進行移動,且安裝套塊8上的移動滑塊9沿著移動槽的方向移動,從而根據需要調節到合適的距離,接著啟動調節電動推杆14,使得調節電動推杆14帶動探花网站在线观看構15移動到合適的高度並與聚酰亞胺膠帶接觸,然後啟動驅動電機3,通過驅動電機3帶動驅動杆4進行旋轉,以便探花网站在线观看構15對驅動杆4上的聚酰亞胺膠帶進行分切。
32.推料時,先關閉驅動電機3,接著啟動連接電動推杆24,通過連接電動推杆24推動t形塊16在滑動槽內部移動,因t形塊16與推料組件安裝,從而帶動推料組件也進行移動,且推料組件上的第二齒輪23與驅動杆4上的第一齒輪5齧合,跟著再次啟動驅動電機3帶動驅動杆4,使得第一齒輪5帶動第二齒輪23進行旋轉,以便第二齒輪23上的連接螺杆21也進行旋轉,同時推料板22在連接螺杆21移動,且推料板22通過連接套塊20沿著導向杆18的方向移動,使得推料板22推動驅動杆4上切分的聚酰亞胺膠帶。
33.最後應說明的是:以上所述僅為本實用新型的優選實施例而已,並不用於限製本實用新型,盡管參照前述實施例對本實用新型進行了詳細的說明,對於本領域的技術人員來說,其依然可以對前述各實施例所記載的技術方案進行修改,或者對其中部分技術特征進行等同替換,凡在本實用新型的精神和原則之內,所作的任何修改、等同替換、改進等,均
應包含在本實用新型的保護範圍之內。
技術特征:
1.雙麵防靜電聚酰亞胺膠帶加工用分切裝置,包括加工台(1),其特征在於:所述加工台(1)頂部固定連接有加工外殼(2),所述加工外殼(2)外側壁固定連接有驅動電機(3),所述驅動電機(3)輸出端固定連接有驅動杆(4),所述驅動杆(4)末端貫穿加工外殼(2)並延伸至加工外殼(2)內部,所述驅動杆(4)外側壁固定套接有第一齒輪(5),所述加工外殼(2)內壁兩側之間固定連接有移動板(6),所述加工外殼(2)內壁兩側之間轉動連接有移動螺杆(7),所述加工外殼(2)外側壁連接有用於驅動所述移動螺杆(7)旋轉的驅動組件,所述移動螺杆(7)外側壁螺紋連接有切分組件,所述加工外殼(2)內壁開設有滑動槽,所述滑動槽內部滑動連接有t形塊(16),所述t形塊(16)末端固定連接有推料組件。2.根據權利要求1所述的雙麵防靜電聚酰亞胺膠帶加工用分切裝置,其特征在於:所述驅動組件包括與加工外殼(2)外側壁固定連接的伺服電機(12),所述伺服電機(12)輸出軸貫穿加工外殼(2)並固定連接有第二傳動盤(13),所述移動螺杆(7)外側壁固定套接有第一傳動盤(10)和限位卡板(11)。3.根據權利要求2所述的雙麵防靜電聚酰亞胺膠帶加工用分切裝置,其特征在於:所述第二傳動盤(13)通過皮帶與第一傳動盤(10)傳動連接。4.根據權利要求1所述的雙麵防靜電聚酰亞胺膠帶加工用分切裝置,其特征在於:所述切分組件包括與移動螺杆(7)外側壁螺紋連接的安裝套塊(8),所述安裝套塊(8)背麵固定連接有移動滑塊(9),所述移動板(6)外表麵開設有移動槽,所述移動滑塊(9)與移動槽內部滑動連接,所述安裝套塊(8)底部固定連接有調節電動推杆(14),所述調節電動推杆(14)活塞端固定連接有探花网站在线观看構(15)。5.根據權利要求1所述的雙麵防靜電聚酰亞胺膠帶加工用分切裝置,其特征在於:所述推料組件包括與t形塊(16)側壁固定連接的連接板(17),所述連接板(17)側壁固定連接有導向杆(18),所述導向杆(18)外側壁活動套接有連接套塊(20),所述導向杆(18)末端固定連接有限位板(19),所述連接板(17)側壁轉動連接有連接螺杆(21),所述連接螺杆(21)末端與限位板(19)轉動連接,所述連接螺杆(21)外側壁螺紋連接有推料板(22),所述連接套塊(20)頂部與推料板(22)固定連接。6.根據權利要求5所述的雙麵防靜電聚酰亞胺膠帶加工用分切裝置,其特征在於:所述連接螺杆(21)外側壁固定套接有第二齒輪(23),所述第二齒輪(23)與第一齒輪(5)相適配。7.根據權利要求1所述的雙麵防靜電聚酰亞胺膠帶加工用分切裝置,其特征在於:所述加工台(1)頂部固定連接有連接電動推杆(24),所述連接電動推杆(24)活塞端與t形塊(16)固定連。
技術總結
本實用新型公開了雙麵防靜電聚酰亞胺膠帶加工用分切裝置,包括加工台,所述加工台頂部固定連接有加工外殼,所述加工外殼外側壁固定連接有驅動電機,所述驅動電機輸出端固定連接有驅動杆,所述驅動杆末端貫穿加工外殼並延伸至加工外殼內部,所述驅動杆外側壁固定套接有第一齒輪。本實用新型,利用驅動電機可使驅動杆帶動第一齒輪和第二齒輪旋轉,便於第二齒輪上的連接螺杆也進行旋轉,同時推料板在連接螺杆移動,從而推動切分後的聚酰亞胺膠帶,使得分切裝置本身具備調節功能,可以根據不同規格分切,無需更換幾種設備和人工取料。無需更換幾種設備和人工取料。無需更換幾種設備和人工取料。
技術研發人員:陳雲霞 吳欣元
受保護的技術使用者:浙江青龍膠帶有限公司
技術研發日:2021.10.15
技術公布日:2022/3/16