服務熱線
180-5003-0233

本發明涉及卷材加工,尤其涉及一種電解銅箔生箔機的分切裝置以及分切方法。
背景技術:
1、探花网站在线观看是一種將寬幅紙張、雲母帶或薄膜分切成多條窄幅午夜探花在线视频的機械設備,常用於造紙機械、電線電纜雲母帶、銅箔等。分切是利用刀具旋轉,環形切刀對寬幅銅箔切割分離,在通過多個紙筒對分切後窄幅銅箔收卷;例如公開號為cn112976137a的發明創造公開了一種電解銅箔生箔機的分切裝置,包括底座、第一分切輥、第二分切輥和切割刀,所述底座左側固定安裝有第一減震座,所述第一減震座上固定安裝有輸料電動機,所述輸料電動機輸出端固定安裝有輸料輥,所述底座上固定安裝有支撐架。相較於現有技術具有分切和切割一體化、便於收料的特點。但是,分切刀不斷與銅箔摩擦,分切刀需要定期更換,或者定期磨刀,會造成停機,占用設備作業時間,分切效率低,另外,對於收卷銅箔的紙筒得不到機械定心,紙筒與銅箔移動方向容易出現偏差,銅箔收卷時會出現偏移,影響銅箔質量。
技術實現思路
1、本發明為了克服現有技術中定期更換分切刀占用分切時間,分切效率低,以及銅箔收卷效果差的缺點,本發明要解決的技術問題是一種電解銅箔生箔機的分切裝置以及分切方法。
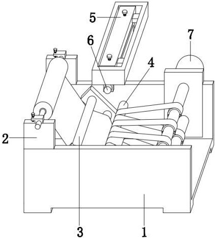
2、為實現上述目的,本發明提供如下技術方案:一種電解銅箔生箔機的分切裝置,包括機殼、兩個托架和導輪組,兩個所述托架分別固定連接在機殼上表麵前後兩側左端,通過托架安裝銅箔卷材,所述導輪組安裝在機殼內側中部,還包括定位輥、滑台、探花网站在线观看構和收卷機構,定位輥能夠繞自身軸線旋轉的安裝在所述機殼內腔,定位輥位於導輪組右側;滑台沿前後方向安裝在所述機殼上表麵中部;探花网站在线观看構安裝在所述滑台底部;收卷機構固定連接在所述機殼後側右端。
3、目的在於對切刀研磨,在不停機的情況下實現磨刀,提升銅箔分切效率,所述探花网站在线观看構包括箱體、第一電機、滾筒、導槽、限位杆、滑板、銷子、研磨組件、第二電機、第一轉軸和切刀,箱體安裝在所述滑台底部,通過滑台讓箱體能夠左右移動;第一電機安裝在所述箱體內腔後側頂端;滾筒安裝在所述第一電機輸出端,所述滾筒外壁開設有導槽;限位杆沿前後方向安裝在所述箱體內腔中部;滑板能夠前後滑動的套接在所述限位杆外壁,限位杆外壁形狀為矩形,防止滑板出現旋轉;銷子一端安裝在所述滑板頂部中心位置,另一端插接在導槽內腔;研磨組件數量為若幹個,從前至後等距安裝在所述滑板下表麵;第二電機安裝在所述箱體正麵底端;第一轉軸一端安裝在所述第二電機輸出端,另一端與箱體內腔後側轉動連接;切刀數量與研磨組件相同,從前至後等距安裝在所述第一轉軸外壁,通過研磨組件提升切刀鋒利程度。
4、優選的,所述導槽呈波浪狀分布在滾筒外壁。
5、優選的,所述研磨組件包括支撐座、滑道、彈簧、滑塊和磨刀石,支撐座固定連接在所述滑板下表麵,所述支撐座下表麵前後兩端均開設有滑道;彈簧和滑塊從外至內分別插接在所述滑道內腔,滑塊形狀為燕尾形,避免滑塊脫離滑道;磨刀石安裝在所述滑塊下表麵。
6、優選的,所述磨刀石內側為斜麵,磨刀石內側表麵與切刀外壁刀刃平行。
7、優選的,所述收卷機構包括支撐板、第三電機和定位組件,支撐板固定連接在所述機殼後側右端;第三電機數量為兩個,分別安裝在所述支撐板後側上下兩端;定位組件沿前後方向安裝在所述第三電機輸出端。
8、優選的,目的在於對紙筒定心安裝,保證了銅箔收卷質量,所述定位組件包括第二轉軸、凹槽、第三轉軸、齒輪、插板、齒條、插針、永磁鐵、搖柄和定位柱,第二轉軸安裝在所述第三電機輸出端,第二轉軸為中空狀,第二轉軸正麵頂部和右端均開設有凹槽;第三轉軸能夠繞自身軸線旋轉的安裝在所述第二轉軸內腔;齒輪數量為若幹個,從前至後等距安裝在所述第三轉軸外壁;插板數量為若幹個,每兩個為一組左右相對的插接在所述第二轉軸內腔左右兩端,插板外側延伸出第二轉軸外壁,所述插板形狀u字形;齒條安裝在所述插板內側,齒條與齒輪齧合鏈接;插針安裝在所述插板內側,且插針能夠延伸出第二轉軸外壁;永磁鐵安裝在所述第二轉軸正麵凹槽;搖柄能夠旋轉的安裝在所述第三轉軸前端;定位柱安裝在所述搖柄後側,永磁鐵與定位柱磁性相吸對搖柄定位。
9、優選的,兩個所述齒條相對於第三轉軸軸線旋轉180度重合。
10、一種電解銅箔生箔機的分切裝置的分切方法,包括以下步驟:
11、步驟一,銅箔卷材被放在托架上,銅箔在導輪組和定位輥的滾動下移動,第二電機帶動第一轉軸上的切刀旋轉,切刀對經過定位輥的銅箔分切,第三電機驅使第二轉軸旋轉,第二轉軸對分切後的銅箔收卷,達到銅箔分切的目的;
12、步驟二,隨著切刀不斷切割銅箔,銳利程度逐漸變差,通過第一電機帶動滾筒旋轉,隨著導槽旋轉,導槽斜麵擠壓銷子前後移動,在銷子處於導槽拐角處時,導槽可以讓銷子靜止一定時間,在彈簧彈力作用下,滑塊上的磨刀石與切刀始終接觸,通過切刀旋轉實現磨刀,保證切刀對銅箔的分切效果,不會因為換刀而停機;
13、步驟三,轉動搖柄使定位柱脫離永磁鐵,利用搖柄驅使第三轉軸逆時針旋轉,在齒輪與齒條傳動下兩個插板同時向內側移動,插板和插針進入第二轉軸,解除對紙筒的定位,便可將收卷有銅箔的紙筒從第二轉軸上卸下,將空紙筒套在第二轉軸外壁,並處在插板所在位置,通過搖柄使第三轉軸順時針旋轉,在齒條牽引下插板向外側移動,插板內側斜麵擠壓紙筒,對紙筒定心,在插針刺入紙筒時,紙筒被固定在第二轉軸上,實現紙筒定心更換,利於紙筒對銅箔精準收卷。
14、與現有技術相比,本發明具有如下有益效果:
15、1、本發明通過第一電機驅使滾筒旋轉,在導槽與銷子配合下能夠讓滑板沿著限位杆前後移動,在彈簧彈力作用下擠壓滑塊,讓磨刀石與切刀接觸,隨著切刀旋轉,實現磨刀,在磨刀時不幹擾銅箔分切作業,降低工作人員勞動強度,分切效率高。
16、2、本發明通過搖柄驅使第三轉軸順時針或逆時針旋轉,在齒輪與齒條傳動下兩個插板同時向外或向內側移動,進而使插板可以移出或進入第二轉軸,插板斜麵能夠擠壓紙筒,實現紙筒定心安裝,紙筒安裝位置精準,保證了分切後銅箔收卷質量。
技術特征:
1.一種電解銅箔生箔機的分切裝置,包括機殼(1)、兩個托架(2)和導輪組(3),兩個所述托架(2)分別固定連接在機殼(1)上表麵前後兩側左端,通過托架(2)安裝銅箔卷材,所述導輪組(3)安裝在機殼(1)內側中部,其特征在於,所述電解銅箔生箔機的分切裝置還包括:
2.根據權利要求1所述的一種電解銅箔生箔機的分切裝置,其特征在於,所述導槽(64)呈波浪狀分布在滾筒(63)外壁。
3.根據權利要求2所述的一種電解銅箔生箔機的分切裝置,其特征在於,所述研磨組件(68)包括:
4.根據權利要求3所述的一種電解銅箔生箔機的分切裝置,其特征在於,所述磨刀石(684)內側為斜麵,磨刀石(684)內側表麵與切刀(611)外壁刀刃平行。
5.根據權利要求4所述的一種電解銅箔生箔機的分切裝置,其特征在於,所述收卷機構(7)包括:
6.根據權利要求5所述的一種電解銅箔生箔機的分切裝置,其特征在於,所述定位組件(73)包括:
7.根據權利要求6所述的一種電解銅箔生箔機的分切裝置,其特征在於,兩個所述齒條(735)相對於第三轉軸(732)軸線旋轉180度重合。
8.根據權利要求7所述的一種電解銅箔生箔機的分切裝置的分切方法,其特征在於,包括以下步驟:
技術總結
本發明涉及卷材加工技術領域,尤其涉及一種電解銅箔生箔機的分切裝置以及分切方法,包括機殼、兩個托架和導輪組,兩個所述托架分別固定連接在機殼上表麵前後兩側左端,通過托架安裝銅箔卷材,所述導輪組安裝在機殼內側中部,還包括定位輥、滑台、探花网站在线观看構和收卷機構,定位輥能夠繞自身軸線旋轉的安裝在所述機殼內腔,定位輥位於導輪組右側;滑台沿前後方向安裝在所述機殼上表麵中部;探花网站在线观看構安裝在所述滑台底部;收卷機構固定連接在所述機殼後側右端。在磨刀時不幹擾銅箔分切作業,降低工作人員勞動強度,分切效率高,實現紙筒定心安裝,紙筒安裝位置精準,保證了分切後銅箔收卷質量。
技術研發人員:陶炳貞,顧秀才,葉鑫
受保護的技術使用者:江蘇興虹科技有限公司
技術研發日:
技術公布日:2024/2/1